邓白氏中国商业洞察 - 合规模块

            D&B China Business Insights - Compliance Module融合全球标准与中国数据的合作伙伴智能决策平台
            申请试用
            邓白氏中国商业洞察概览合规模块信用模块

            邓白氏中国商业洞察 – 合规模块

            邓白氏中国商业洞察 – 合规模块,是聚焦合规风险管理的全流程智能化工具,基于邓白氏合规尽职调查方法论,为企业提供覆盖准入、身份识别、风险筛查、评估与持续监测的一站式解决方案。
            支持用户按需灵活配置风险筛查对象、模块与风险规则,快速生成合规尽职调查报告。同时,系统具备强大的动态监控与预警机制,用户可自定义监控范围与触发条件,实时掌握客户及供应商的潜在风险,获取深度风险洞察,全面提升企业的风险防控能力与合规管理水平。

            企业合规管理常见挑战

            风险筛查
            关联过多
            耗时费力
            需最大范围筛查大量合作方及其关联方的法律诉讼、监管处罚、运营危机等风险事件。
            合规流程
            流程复杂
            影响效率
            第三方准入及定期审核流程复杂,需多层级多部门协同,并确保各环节操作留痕。
            风险事件
            随时突发
            监控困难
            企业需灵活且持续地监控合作方业务变化,及时获取其最新风险事件信息。

            产品特色

            一键审查
            便捷高效
            平台覆盖企业主体及其关联方的多维度风险筛查信息,以及邓白氏独有的风险评分等信息。
            线上管控
            协同透明
            平台支持批量管理目标主体、审阅及下载合规尽职调查报告,大大提升合规管理团队的工作效率。
            持续监控
            主动推送
            平台持续监测企业动态,提供清晰可视化风险提示,并自动推送最新风险事件。

            邓白氏强大的合规风险筛查能力

            合规合法且可靠的信息来源

            多维度公共记录
            数据涵盖多维度可靠的公开数据渠道
            独特的邓白氏评级数据
            以专业的评分模型,丰富的全球数据为用户提供更精准的风险决策支持
            广泛的媒体渠道
            覆盖绝大部分官方媒体以及主流媒体

            多方位可灵活配置的风险洞察维度,降低潜在风险威胁

            多维度的风险洞察
            七大风险种类,43个数据维度,满足用户个性化定制风险等级及数据规则
            可扩展的筛查对象
            不仅仅是合作方,还包括合作方的高管及其关联方
            可灵活配置的风险筛查
            可灵活配置的风险模块和灵活的筛查对象,为企业提供个性化的风险评估服务

            核心功能

            客商管理

            实现目标主体全生命周期管理,主体信息一站式录入与精细管理,支持随时增删改查,以及一键完成报告订购、问卷发起和监控启动。通过有效标签分类,快速筛选目标主体,助力高效决策与合作进程掌控。

            尽调报告

            支持在线浏览及下载目标主体的合规风险评定报告,还具备加签、审阅等功能。拥有丰富的数据源和风险分析维度,使用科学的风险评估模型进行风险评估,为企业构建多维度的主体风险画像,并支持评估规则灵活配置,提升风险管理的适应性和效率。

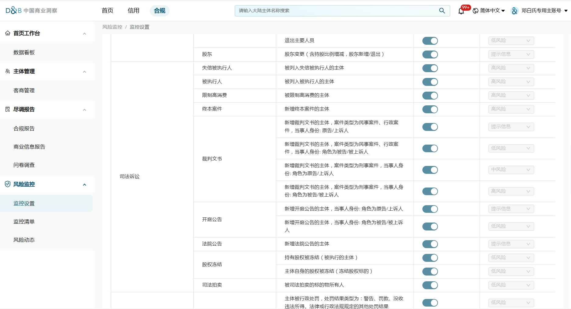
            监控预警

            自定义监控模板配置和风险规则选定,自动捕捉监控主体的风险事件变动,定期智能推送含风险明细的预警信息,帮助客户实时掌控风险动态。智能划分风险类别,简化操作流程,让专业团队集中处理关键问题,提升风险管理效率与决策能力。

            风险处置

            支持针对风险事件选择预设处置结果,并添加备注,方便后续追踪与管理。

            数据看板

            多板块展示目标主体管理、报告制作进度、风险事件趋势等平台数据统计,助力用户了解客商全貌、掌握动态资讯、明晰合规风险态势并制定管理处置策略。
            在线客服公众号电话热线提交需求回顶部